Cement grinding aids prepared with waste antifreeze
(22) 29.09.2015
(43) 24.05.2018
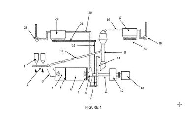
(57) It discloses cement grinding aids prepared with waste anti-freeze which comprises the following components in parts by weight: 20-75 parts of pretreated waste antifreeze, 5-40 parts of alkanolamine, 1-5 parts of acid solution, 3-12 parts of saccharide and 15-50 parts of water. The pretreated waste antifreeze is prepared by adding an alkaline solution into waste antifreeze to regulate the pH value, adding a flocculant, and stirring and standing; separating upper-layer oil, and then filtering to remove flocculent precipitates, thus obtaining a clear mixed...
(22) 29.09.2015
(43) 24.05.2018
(57) It discloses cement grinding aids prepared with waste anti-freeze which comprises the following components in parts by weight: 20-75 parts of pretreated waste antifreeze, 5-40 parts of alkanolamine, 1-5 parts of acid solution, 3-12 parts of saccharide and 15-50 parts of water. The pretreated waste antifreeze is prepared by adding an alkaline solution into waste antifreeze to regulate the pH value, adding a flocculant, and stirring and standing; separating upper-layer oil, and then filtering to remove flocculent precipitates, thus obtaining a clear mixed solution.
(71) Nanjing Tech University, Nanjing (CN)
(73) Nanjing Tech University, Nanjing (CN)
