Cement kiln burner and method for operating same
(22) 25.02.2021
(43) 01.09.2022
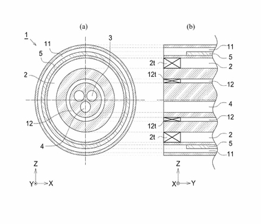
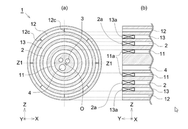
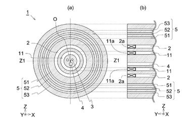
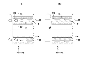
(57) Provided is a cement kiln burner that enables wind velocity to be adjusted according to the degree of combustibility of fuel without changing the airflow rate of fluid blown from channels. Also provi-ded is a method for operating the cement kiln burner. A cement kiln burner having a plurality of columnar or cylindrical channels, wherein the respective outlets of the channels are arranged on substantially the same plane, and the interior of at least one of the el channels is provided with a wind velocity adjustment member that can change the cross-sectional...
(22) 25.02.2021
(43) 01.09.2022
(57) Provided is a cement kiln burner that enables wind velocity to be adjusted according to the degree of combustibility
of fuel without changing the airflow rate of fluid blown from channels. Also provi-ded is a method for operating the cement kiln burner. A cement kiln burner having
a plurality of columnar or cylindrical channels, wherein the respective outlets of the channels are arranged on substantially the same plane, and the interior of at least one of the el channels is provided with a wind velocity adjustment member
that can change the cross-sectional area at the outlet-side leading end of the channel by moving along the axial direction of the channel in contact with one of the inner peripheral wall and the outer peripheral wall of the channel and in non-contact with the other wall.
(71) Taiheyo Cement Corporation, Tokyo (JP)
(84) ARIPO (BW, GH, GM, KE, LR, LS, MW, MZ, NA, RW, SD, SL, ST, SZ, TZ, UG, ZM, ZW), Eurasian (AM, AZ, BY, KG, KZ, RU, TJ, TM), European (AL, AT, BE, BG, CH, CY, CZ, DE, DK, EE, ES, FI, FR, GB, GR, HR, HU, IE, IS, IT, LT, LU, LV, MC, MK, MT, NL, NO, PL, PT, RO, RS, SE, SI, SK, SM, TR), OAPI (BF, BJ, CF, CG, CI, CM, GA, GN, GQ, GW, KM, ML, MR, NE, SN, TD, TG)
